Bardunisolatorer >36kV
Vare-/El nummer | ||
---|---|---|
Salgsenhet | Stk | |
ETIM-klasse | EC003514 |
-
Produktbeskrivelse
Bardunisolatoren kan plasseres hvor som helst langs bardunwiren for å beskytte mot feilstrømmer og overspenninger. Den erstatter porselen og forlenger isolasjonslengden. Bardunisolator har en rekke fordeler, blant annet variable lengder, enkle avslutninger og er motstandsdyktig mot bruddskader som følge av skjørhet
-
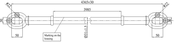
Dimensjoner
Lengde 74 mm Høyde 52 mm Bredde 4 365 mm Vekt 8 200 g -
Dokumenter
Datablad
Skisser & tegninger
-
Tekniske egenskaper - Høyspenningsisolator
Merkespenning 145 kV Lengde 4 365 mm Vekt 8,2 kg - Andre varianter