Linje loop-støtteisolator med omvendte skjermer 24kV
| Vare-/El nummer | 2861209 | |
|---|---|---|
| Produkttype | YPIL-38-101-CT-SUS-POST | |
| Salgsenhet | Stk | |
| ETIM-klasse | EC003514 |
-
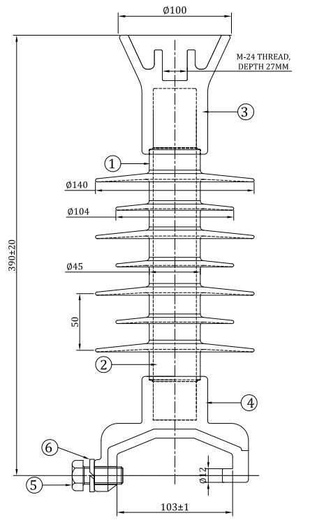
Produktbeskrivelse
Invertert linjestøtteisolator designet for hengende montasje på blank linje og BLL opp til 24kV. Isolatoren har omvendte skjermer (paraply-profil) som sikrer optimal avrenning og selvrensing når den monteres hengende under traverset.
Utstyrt med vertikaltopp og AUS-vennlig K-klemme for rask og sikker innfesting av leder.
Produsert i høykvalitets komposittmateriale fra Yamuna, som gir lav vekt og høy resistens mot UV-stråling og forurensning. -
Dimensjoner
Lengde 140 mm Høyde 400 mm Bredde 140 mm Vekt 10 000 g -
Dokumenter
Skisser & tegninger
-
Dimensjoner
-
Mekaniske data
Minimum bruddstyrke SCL 12,5 kN Maks arbeidslast RCL 5,5 kN -
Elektriske egenskaper
Spenningsnivå 24 kv Holdespenning 50Hz 60 kV Overslagslengde tørr 240 mm Impuls holdespenning positiv 170 kV Lynimpuls 145 kV Krypestrømsvei 620 mm -
Tekniske spesifikasjoner - Isolator
Isolatormateriale silikon Standard iec61109 Farge grå - Andre varianter